ReadWriteEDID
支持的硬件设备:支持HDMI信号的Pro系列采集卡、USB系列采集设备
例子展示的内容:
- 将指定通道的EDID写到.bin文件中;
- 读取指定路径的.bin文件(EDID)并将其写入指定的通道。
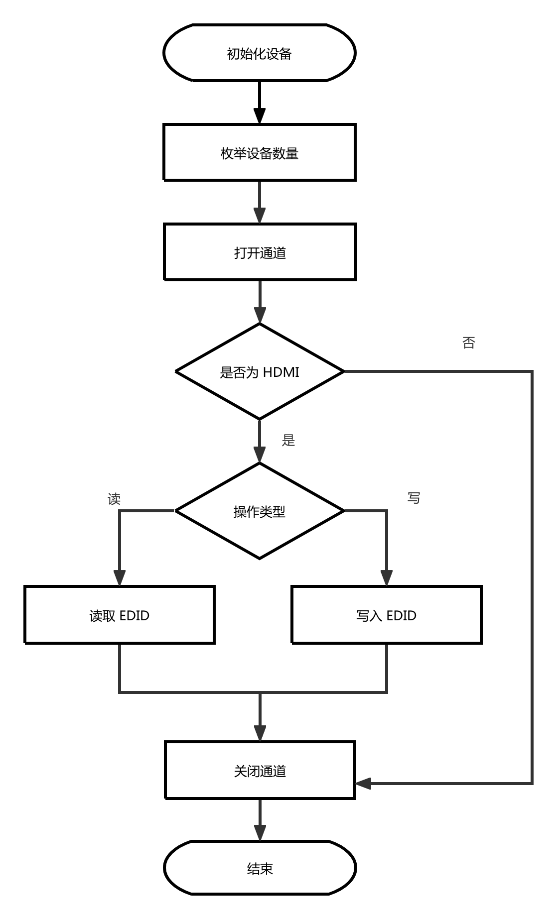
调用逻辑:
- 获取版本信息,初始化和枚举设备:MWGetVersion、MWCaptureInitInstance、MWRefreshDevice、MWGetChannelCount;
- 打开设备:
- 打开命令参数指定的设备:MWOpenChannel;
- 当命令参数没有指定设备时,默认打开首个可用通道:MWGetDevicePath,MWOpenChannelByPath;
- 获取通道信息并筛选时设备:MWGetChannelInfo、MWGetVideoInputSource、MWGetAudioInputSource;
- 根据命令参数判断写出当前通道信息到bin文件还是读取bin文件信息写入到当前通道:
- 将指定通道的 EDID信息保存为为bin文件:
- 获取EDID信息:MWGetEDID;
- 写入bin文件;
- 读取bin文件信息,并写入指定通道:
- 读取bin文件:fread;
- 将EDID写入当前通道:MWSetEDID;
- 将指定通道的 EDID信息保存为为bin文件:
- 释放资源和内存:MWCloseChannel,MWCaptureExitInstance。
结果展示:

流程图:
