GetANCPacket
支持的硬件设备:Pro系列中支持SDI信号的采集卡
例子展示的内容:
- 采集SDI信号中额ANC数据;
- 如果存在多个设备,可以通过命令参数选择采集通道。
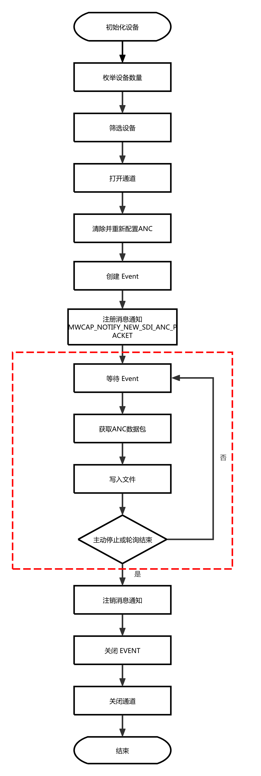
调用逻辑:
- 获取版本信息,初始化和枚举设备:MWGetVersion、MWCaptureInitInstance、MWRefreshDevice、MWGetChannelCount;
- 根据设备信息和接口信息筛选支持的设备:MWGetChannelInfoByIndex;
- 打开设备:
- 打开命令参数指定的设备:MWOpenChannel;
- 当命令参数没有指定设备时,默认打开首个可用通道:MWGetDevicePath,MWOpenChannelByPath;
- 清除并重新配置ANC:MWCaptureSetSDIANCType;
- 创建Event:MWCreateEvent;
- 注册消息通知:MWRegisterNotify;
- 等待Event:MWTryWaitEvent、MWWaitEvent;
- 获取ANC数据包:MWCaptureGetSDIANCPacket;
- 写入数据到bin文件;
- 重复7、8、9,直到轮询结束或用户主动停止;
- 注销消息通知:MWUnregisterNotify;
- 关闭Event:MWCloseEvent;
- 释放资源和内存:MWCloseChannel,MWCaptureExitInstance。
结果展示:

流程图:
